聯系電話:
4006-181-398

產品型號:Q11F-16T
公稱壓力:1.6MPa
工作介質:水、非腐蝕性液體、飽和蒸汽(≤0.6MPa)
工作溫度:-20℃≤t≤100℃
管螺紋標準:符合ISO228標準
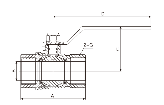
主要外形尺寸
|
DN(mm) |
NPS(in) |
A |
B |
C |
D |
G |
|
15 |
1/2 |
52.8 |
14 |
41 |
98 |
1/2 |
|
20 |
3/4 |
63 |
19 |
44.5 |
98 |
3/4 |
|
25 |
1 |
72 |
23.5 |
55 |
110 |
1 |
|
32 |
11/4 |
80 |
30 |
61 |
140 |
11/4 |
|
40 |
11/2 |
90.6 |
37 |
66 |
140 |
11/2 |
|
50 |
2 |
106 |
46.5 |
75 |
155 |
2 |
|
65 |
21/2 |
132.4 |
56 |
92 |
190 |
21/2 |
|
80 |
3 |
151 |
68.5 |
106 |
230 |
3 |
|
100 |
4 |
190.5 |
85 |
117.5 |
230 |
4 |

京公網安備 XXXXXXXXXXXXX